백내장 수술시 삽입 '다초점 렌즈' 성능측정…미국 특허

실시간 키워드

2022.08.01 00:00 기준

백내장 수술시 삽입 '다초점 렌즈' 성능측정…미국 특허

모두서치 2025-10-17 08:53:14 신고

3줄요약
사진 = 뉴시스

 

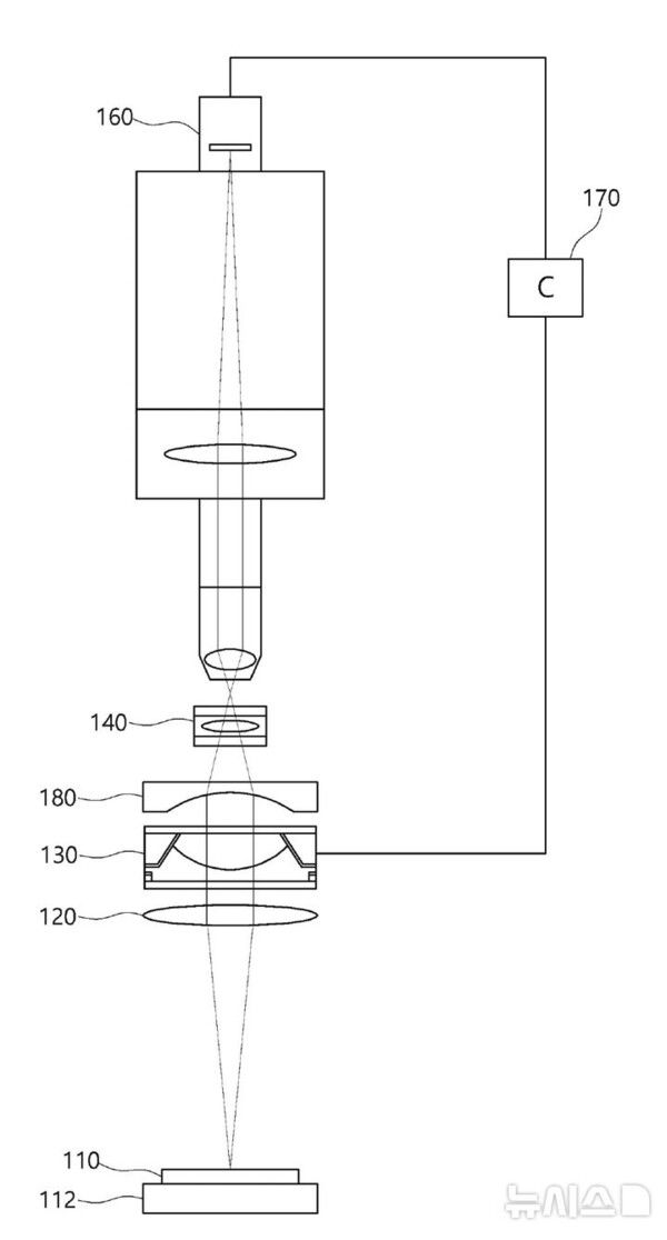
가톨릭대학교 여의도성모병원은 안과병원 황호식 교수가 다초점 인공수정체 평가 장치(Optical bench tester for multifocal IOL)의 미국 특허 등록을 완료했다고 17일 밝혔다. 이 장치는 다초점 인공수정체(multifocal IOL, 원·근거리 동시 교정 렌즈)의 성능을 객관적이고 신속하게 평가하도록 고안됐다.

뉴시스 보도에 따르면, 백내장 수술은 혼탁한 수정체를 제거하고 인공수정체(IOL)를 삽입하는 표준 치료다. 기존 임상 연구 기반 평가는 환자 시력과 만족도 조사를 통해 이뤄지지만 시간·비용 부담과 주관성이 한계로 지적돼 왔다.

특허 기술은 옵티컬 벤치(optical bench·광학 성능 평가 장치) 상의 수조에 인공수정체를 삽입한 뒤, 전기로 작동하는 액체렌즈로 다양한 거리를 시뮬레이션할 수 있도록 탈조점을 만든 후 시표를 촬영 및 분석한다. 시표 촬영부터 데이터 분석까지 전 과정을 자동화해 반복 가능성과 재현성을 높인 것이 핵심이다.

황 교수는 "이번 발명은 전기적으로 탈초점을 구현해 다초점 인공수정체의 성능을 빠르고 객관적으로 측정할 수 있도록 한 장치"라며 "평가 결과를 표준화된 데이터베이스로 구축해 안과의사와 백내장 수술 예정 환자들이 병원 홈페이지에서 손쉽게 열람할 수 있도록 하겠다"고 말했다.

여의도성모 안과병원은 해당 장비를 기반으로 국내외 다초점 인공수정체의 비교·검증을 진행해 임상 현장에서의 다초점인공수정체 선택의 근거를 확보, 환자 맞춤 치료에 기여할 계획이다.

Copyright ⓒ 모두서치 무단 전재 및 재배포 금지

본 콘텐츠는 뉴스픽 파트너스에서 공유된 콘텐츠입니다.

다음 내용이 궁금하다면?
광고 보고 계속 읽기
원치 않을 경우 뒤로가기를 눌러주세요

실시간 키워드

  1. -
  2. -
  3. -
  4. -
  5. -
  6. -
  7. -
  8. -
  9. -
  10. -

0000.00.00 00:00 기준

이 시각 주요뉴스

알림 문구가 한줄로 들어가는 영역입니다

신고하기

작성 아이디가 들어갑니다

내용 내용이 최대 두 줄로 노출됩니다

신고 사유를 선택하세요

이 이야기를
공유하세요

이 콘텐츠를 공유하세요.

콘텐츠 공유하고 수익 받는 방법이 궁금하다면👋>
주소가 복사되었습니다.
유튜브로 이동하여 공유해 주세요.
유튜브 활용 방법 알아보기