"2억 원의 남다른 품격"... 제네시스, 세계 최초 기술 공개에 전 세계 '긴장'

실시간 키워드

2022.08.01 00:00 기준

"2억 원의 남다른 품격"... 제네시스, 세계 최초 기술 공개에 전 세계 '긴장'

오토트리뷴 2025-09-30 10:38:53 신고

3줄요약
▲제네시스 네오룬 콘셉트(사진=양봉수 기자)
참고사진, 제네시스 네오룬 콘셉트에 장착된 디스플레이 /사진=양봉수 기자

[오토트리뷴=김동민 기자] 제네시스가 내년 발표 예정인 플래그십 SUV에 들어갈 신기술에 대해 특허를 냈다. 기존 ‘B필러-리스 코치 도어’와는 다른 롤러블 디스플레이 관련 내용이며 이 역시 세계 최초에 해당한다.


굴러 들어가 수납되는 화면

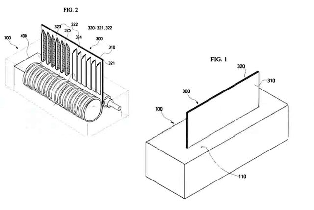
최근 미국 특허상표청(USPTO)에 따르면 현대차는 차량용 롤러블 OLED 디스플레이 기술에 대한 특허를 출원했다. 이전까지 자동차에는 대부분 두껍고 단단한 LCD 디스플레이를 장착했지만 이를 대체할 수 있는 기술을 개발한 셈이다.

특허에 따르면 해당 기술은 차 내부에 소형 하우징을 두고 롤러 메커니즘을 통해 화면을 펼치거나 감아 넣는 방식으로 작동한다. 필요할 때만 화면을 전개할 수 있어 기존 고정형 디스플레이 대비 공간 활용성이 높고 디자인 유연성도 확보된다.

현대차 롤러블 OLED 디스플레이 특허 내용 /사진=USPTO
현대차 롤러블 OLED 디스플레이 특허 내용 /사진=USPTO

디스플레이는 ‘스크린 파트’와 ‘서포트 파트’로 나뉜다. 스크린 파트는 외부 신호를 받아 내비게이션이나 엔터테인먼트 정보를 표시한다. 서포트 파트는 화면이 주행 중에도 휘거나 왜곡되지 않도록 안정성을 유지한다.

해당 기술은 제네시스가 개발 중인 GV90에 적용될 것이 사실상 확정적이다. 이미 비슷한 형태가 GV90 기반이 되는 ‘네오룬’ 콘셉트를 통해 먼저 선보인 바 있다. 당시에는 천장에 고정식으로 붙었지만 신기술은 더 획기적이다.

독일 뉘르부르크링에서 테스트 주행 중인 제네시스 GV90 /사진=Carscoops
독일 뉘르부르크링에서 테스트 주행 중인 제네시스 GV90 /사진=Carscoops


기대감 점점 커지는 GV90

GV90은 지금까지 선보인 제네시스 모델과 차별화된 디자인 언어와 실내 분위기를 갖출 것으로 알려졌다. 현대차그룹 차세대 전기차 전용 플랫폼인 eM을 기반으로 제작되며 ‘플레오스 커넥트’ 인포테인먼트 시스템 역시 탑재된다.

GV90은 2열에 일반적인 스윙 도어를 적용한 기본 모델과 B필러가 없는 코치 도어 방식을 채택한 상위 버전 ‘익스클루시브’로 구성된다. 가격대는 기본 모델이 1억 원 중반대부터에 익스클루시브는 최대 2억 원 초중반대일 것으로 전망된다.

참고사진, 제네시스 네오룬 콘셉트 /사진=양봉수 기자
참고사진, 제네시스 네오룬 콘셉트 /사진=양봉수 기자

롤러블 디스플레이는 익스클루시브에 탑재될 가능성이 크다. OLED 자체로 고가이며 롤러블 기술 역시 개발 비용이 상당하기 때문이다. 이에 메르세데스-마이바흐 GLS, 랜드로버 레인지로버 등과 경쟁하는 익스클루시브에 쓰일 것으로 보인다.

파워트레인은 사륜구동 듀얼모터 구성에 대형 배터리를 탑재한 순수 전동화 버전이 먼저 등장한다. 이후 주행거리 연장형 전기차(EREV)가 추가될 예정이다. 업계에 따르면 예상 주행 가능 거리가 최대 1,200km에 달한다.

독일 뉘르부르크링에서 테스트 주행 중인 제네시스 GV90 /사진=Carscoops
독일 뉘르부르크링에서 테스트 주행 중인 제네시스 GV90 /사진=Carscoops

한편, GV90은 내년 1분기 정식 공개 및 양산에 들어가며 출시와 판매 시작은 2분기 중 이뤄진다. 이를 독점 생산하는 울산 6공장이 올해 완공 예정이며 그에 맞춰 시험 양산과 마지막 테스트가 진행된다.

김동민 기자 kdm@autotribune.co.kr

Copyright ⓒ 오토트리뷴 무단 전재 및 재배포 금지

본 콘텐츠는 뉴스픽 파트너스에서 공유된 콘텐츠입니다.

다음 내용이 궁금하다면?
광고 보고 계속 읽기
원치 않을 경우 뒤로가기를 눌러주세요

실시간 키워드

  1. -
  2. -
  3. -
  4. -
  5. -
  6. -
  7. -
  8. -
  9. -
  10. -

0000.00.00 00:00 기준

이 시각 주요뉴스

알림 문구가 한줄로 들어가는 영역입니다

신고하기

작성 아이디가 들어갑니다

내용 내용이 최대 두 줄로 노출됩니다

신고 사유를 선택하세요

이 이야기를
공유하세요

이 콘텐츠를 공유하세요.

콘텐츠 공유하고 수익 받는 방법이 궁금하다면👋>
주소가 복사되었습니다.
유튜브로 이동하여 공유해 주세요.
유튜브 활용 방법 알아보기