"신형 아이폰에 적용?" 애플, 듀얼 레이저 시스템 기반 카메라 자동 초점 기술 특허 출원

실시간 키워드

2022.08.01 00:00 기준

"신형 아이폰에 적용?" 애플, 듀얼 레이저 시스템 기반 카메라 자동 초점 기술 특허 출원

M투데이 2025-06-19 17:02:02 신고

3줄요약
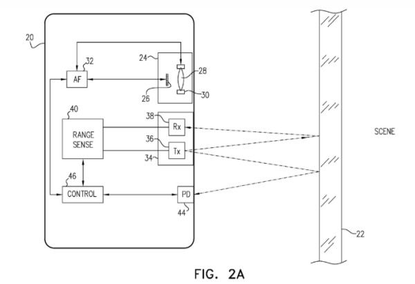
애플의 듀얼 레이저 시스템 기반 자동 초점 기술 특허 (출처 : 미국 특허상표청)
애플의 듀얼 레이저 시스템 기반 자동 초점 기술 특허 (출처 : 미국 특허상표청)

[엠투데이 최태인 기자] 애플이 아이폰 카메라의 자동 초점 기능을 대폭 개선할 새로운 기술을 특허 출원했다.

지난 18일(현지시간) IT매체 폰아레나에 따르면, 애플이 출원한 'US 12335613 B2'라는 이름의 특허는 듀얼 레이저 시스템 기반의 새로운 자동 초점 기술이다.

이 기술은 스마트폰을 들어 사진을 찍을 때 두 개의 레이저가 서로 다른 각도로 빛을 발사하고, 반사된 신호를 감지해 거리를 측정하는 방식이다. 두 레이저가 동일한 거리를 측정하면 즉시 초점을 맞추고, 그렇지 않으면 기존 초점 방식으로 전환해 다시 시도한다.

레이저 기반 자동 초점 기술은 스마트폰 시장에서 새로운 개념은 아니다. LG는 지난 2014년 LG G3 모델에 이를 처음 도입했고, 에이수스(ASUS)와 화웨이, 원플러스도 하이브리드 시스템의 일부로 활용했다. 하지만 기존 기술은 단일 레이저를 사용해 유리나 금속과 같은 반사 표면에서 오류를 일으키는 한계가 있었다.

애플의 듀얼 레이저 시스템은 이러한 한계를 극복할 수 있다. 두 개의 레이저가 동시에 작동해 거리 측정 오류를 줄이고, 반사 표면에서도 더 빠르고 정확한 초점을 제공한다. 이 기술이 적용되면 반려동물의 빠른 움직임을 포착하거나 차량 내부에서 풍경을 촬영할 때도 흔들림 없는 사진을 얻을 수 있다.

애플은 이 시스템이 초점 속도를 높이고, 잘못된 반사를 감지해 저조도 환경에서도 선명한 이미지를 제공할 수 있다고 강조했다.

다만, 애플이 이 시스템을 상용화할지는 미지수다. 특허가 출원됐다고 해서 반드시 제품에 적용되는 것은 아니며, 향후 아이폰이나 비전 프로 같은 기기에서 활용될 가능성도 있다.

하지만 애플이 이를 차세대 아이폰에 적용한다면 '인스턴트 레이저 포커스(Instant laser focus)'또는 '듀얼 빔 댑스 록(Dual-beam depth lock)' 등의 이름으로 상용화될 가능성이 크다.

Copyright ⓒ M투데이 무단 전재 및 재배포 금지

본 콘텐츠는 뉴스픽 파트너스에서 공유된 콘텐츠입니다.

다음 내용이 궁금하다면?
광고 보고 계속 읽기
원치 않을 경우 뒤로가기를 눌러주세요

실시간 키워드

  1. -
  2. -
  3. -
  4. -
  5. -
  6. -
  7. -
  8. -
  9. -
  10. -

0000.00.00 00:00 기준

이 시각 주요뉴스

알림 문구가 한줄로 들어가는 영역입니다

신고하기

작성 아이디가 들어갑니다

내용 내용이 최대 두 줄로 노출됩니다

신고 사유를 선택하세요

이 이야기를
공유하세요

이 콘텐츠를 공유하세요.

콘텐츠 공유하고 수익 받는 방법이 궁금하다면👋>
주소가 복사되었습니다.
유튜브로 이동하여 공유해 주세요.
유튜브 활용 방법 알아보기