현대자동차가 차량 안전성과 공기역학 효율을 획기적으로 개선할 신기술을 선보였다. 최근 미국 특허청(USPTO)에 출원된 ‘리트랙터블 측면 카메라 시스템(Retractable Side Camera System)’은 기존 사이드미러의 한계를 보완하고 차량 외관 디자인의 정교함까지 고려한 첨단 장치로, 카메라가 필요하지 않을 때는 차체 안으로 매끄럽게 수납되는 구조다. 현대차의 특허 출원은 자동차 전문 매체 ‘카모세스(CarMoses)’를 통해 처음 확인되었다.
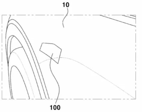
현대차의 신형 카메라 시스템은 기술과 디자인이 정교하게 융합된 결과물로, 여러 종류의 핵심 부품들로 구성된다. 차량 주변의 광각 시야를 확보하는 핵심 장치인 ‘카메라 유닛’, 두 개의 연결 부품으로 구성돼 카메라의 전개와 수납을 제어하는 ‘회전 링크 메커니즘’, 카메라 하우징과 차체 패널 사이의 틈을 밀착시켜 외관을 매끄럽게 하고 풍절음을 줄이는 ‘하우징 리브 및 가니시’, 시스템의 두뇌 역할로, 카메라의 작동 시점을 결정하는 ‘전자 제어기’다.
일반적인 사이드미러나 외부 돌출형 카메라처럼 차량 외부에 노출되지 않고, 전륜 뒤쪽의 펜더 부분 등 차체 내부에 완전히 수납되는 것이 특징이다. 또, 주목할 점은 기존의 후방 카메라를 대체하는 것이 아닌, 보완하는 장치라는 것이다. 특히 거울이 접힌 상태로 주차하거나 협소한 골목길을 운전할 때, 사이드미러보다 넓은 시야와 선명한 화질을 제공할 수 있다는 점에서 큰 장점이 있다. 카메라는 작동 시 자동으로 돌출돼 사이드미러와 유사한 위치에서 시야를 확보하며, 주차장 등 저고도 공간에서 탁월한 활용도를 보일 것으로 기대된다.
기존에도 일부 제조사들이 사이드미러 대신 카메라 기반 시스템을 도입해온 바 있지만, 현대차의 솔루션은 공기역학적인 디자인, 소음 및 진동 감소, 정밀한 작동 등으로 차별화를 뒀다.
이번 리트랙터블 카메라 시스템은 자동차의 스마트화·디지털화 흐름 속에서 주행 안전성과 디자인 완성도를 동시에 끌어올릴 수 있는 기술로 평가된다. 향후에는 지능형 운전자 보조 시스템(ADAS)과의 연계는 물론, 차량 공기역학 성능 향상에도 기여할 수 있을 것으로 기대를 모은다.
더드라이브 / 조윤주 기자 auto@thedrive.co.kr
Copyright ⓒ 더드라이브 무단 전재 및 재배포 금지
본 콘텐츠는 뉴스픽 파트너스에서 공유된 콘텐츠입니다.


