"3번 접는 폴더블폰" 삼성, 디스플레이 4개 적용한 '쿼드 폴드' 특허 출원

실시간 키워드

2022.08.01 00:00 기준

"3번 접는 폴더블폰" 삼성, 디스플레이 4개 적용한 '쿼드 폴드' 특허 출원

M투데이 2025-04-09 09:01:06 신고

3줄요약
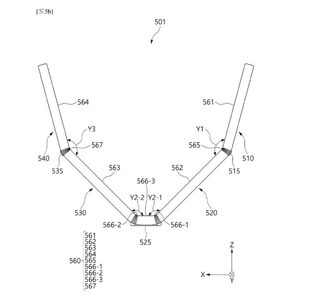
세계지식재산기구(WIPO)가 공개한 삼성전자의 '벤더블 디스플레이를 포함하는 전자 장치(ELECTRONIC DEVICE INCLUDING BENDABLE DISPLAY)'라는 제목의 특허 이미지 (출처 : WIPO)
세계지식재산기구(WIPO)가 공개한 삼성전자의 '벤더블 디스플레이를 포함하는 전자 장치(ELECTRONIC DEVICE INCLUDING BENDABLE DISPLAY)'라는 제목의 특허 이미지 (출처 : WIPO)

[엠투데이 최태인 기자] 삼성전자가 4개의 패널을 탑재한 '쿼드 폴드(4단 접이식)' 스마트폰 특허 기술을 확보했다.

지난 4일(현지시간) 세계지식재산기구(WIPO)에 따르면, 삼성전자가 작년 특허협력조약(PCT)를 통해 국제 출원한 '벤더블 디스플레이를 포함하는 전자 장치(ELECTRONIC DEVICE INCLUDING BENDABLE DISPLAY)'라는 제목의 특허가 지난달 27일 공개됐다. 해당 특허에는 3개의 힌지를 활용해 4개 패널을 연결하는 방식이 담겼다.

특허에 묘사된 삼성전자의 쿼드 폴더블 스마트폰은 4개의 패널이 수평으로 연결되며, 3개의 힌지를 통해 접을 수 있는 구조를 가진다. 첫 번째, 두 번째, 세 번째 패널은 평평한 상태를 유지하고 각 패널 사이에 위치한 굴곡진 영역이 힌지 하우징에 수용돼 접힌다. 네 번째 패널은 두 번째와 세 번째 패널 사이에서 평평한 형태를 유지하도록 설계됐으며, 폴딩 과정에서도 일정한 형태를 유지한다.

삼성전자는 쿼드 폴드뿐만 아니라 트라이폴드(3단 접이식) 기기에 대한 기술도 선보였다. 트라이폴드는 3개의 패널과 2개의 힌지를 사용하는 방식으로, USB C타입 충전 단자와 트리플 카메라를 갖춘 비교적 완성도 높은 디자인을 제시했다. 앞서 출원된 삼성전자의 폴더블 기기 관련 특허에 등장한 3중 접이식 폴더블폰과 유사한 형태를 띄고 있다.

이번 특허가 실제 상용화될지는 아직 미지수다. 다만 새로운 폼팩터에 대한 시장의 요구가 지속적으로 증가하고 있고, 삼성전자가 폴더블폰 시장 내 입지를 강화하기 위해서는 혁신이 필수적인 상황이다. 시장 수요와 기술 발전 속도 등에 따라 향후 제품화 가능성이 결정될 것으로 보인다.

삼성전자는 PCT 출원을 시작으로 미국(USPTO), 유럽(EPO), 중국(CNIPA) 등 개별 국가 특허 기관에서 특허 등록을 추진할 것으로 예상된다. PCT 출원은 국제적으로 먼저 특허를 신청하고, 각 국가 특허청에서 심사를 거쳐 국가별 특허권을 확보하는 방식이다. 이를 통해 폴더블 스마트폰 시장에서 기술적 우위를 확보하고, 경쟁사 대비 강력한 지식재산권(IP) 포트폴리오를 구축할 것으로 전망된다.

삼성전자는 지난 2019년 세계 최초로 폴더블 스마트폰 '갤럭시 폴드'를 상용화하며 접이식 디스플레이 시장을 개척했다.

이후 기술 발전을 거듭하며 '갤럭시 Z 플립' 시리즈를 출시해 클램셸 폼팩터를 도입, 폴더블폰 시장을 혁신했다는 평가를 받았다. 이후 매년 갤럭시 Z 폴드와 갤럭시 Z 플립 신제품을 선보이며 소비자들에게 새로운 사용자 경험을 제공하고 있다.

한편, 삼성전자가 기존 북스타일·클램셸 형식을 뛰어넘은 새로운 폼팩터 개발로 또 한번 폴더블폰 혁신을 이루고 시장을 선도할지 주목된다.

Copyright ⓒ M투데이 무단 전재 및 재배포 금지

본 콘텐츠는 뉴스픽 파트너스에서 공유된 콘텐츠입니다.

다음 내용이 궁금하다면?
광고 보고 계속 읽기
원치 않을 경우 뒤로가기를 눌러주세요

실시간 키워드

  1. -
  2. -
  3. -
  4. -
  5. -
  6. -
  7. -
  8. -
  9. -
  10. -

0000.00.00 00:00 기준

이 시각 주요뉴스

알림 문구가 한줄로 들어가는 영역입니다

신고하기

작성 아이디가 들어갑니다

내용 내용이 최대 두 줄로 노출됩니다

신고 사유를 선택하세요

이 이야기를
공유하세요

이 콘텐츠를 공유하세요.

콘텐츠 공유하고 수익 받는 방법이 궁금하다면👋>
주소가 복사되었습니다.
유튜브로 이동하여 공유해 주세요.
유튜브 활용 방법 알아보기