온열·냉각 기능 더한 컨트롤러, 소니 신규 특허 출원

실시간 키워드

2022.08.01 00:00 기준

온열·냉각 기능 더한 컨트롤러, 소니 신규 특허 출원

게임메카 2025-03-12 15:24:57 신고

3줄요약
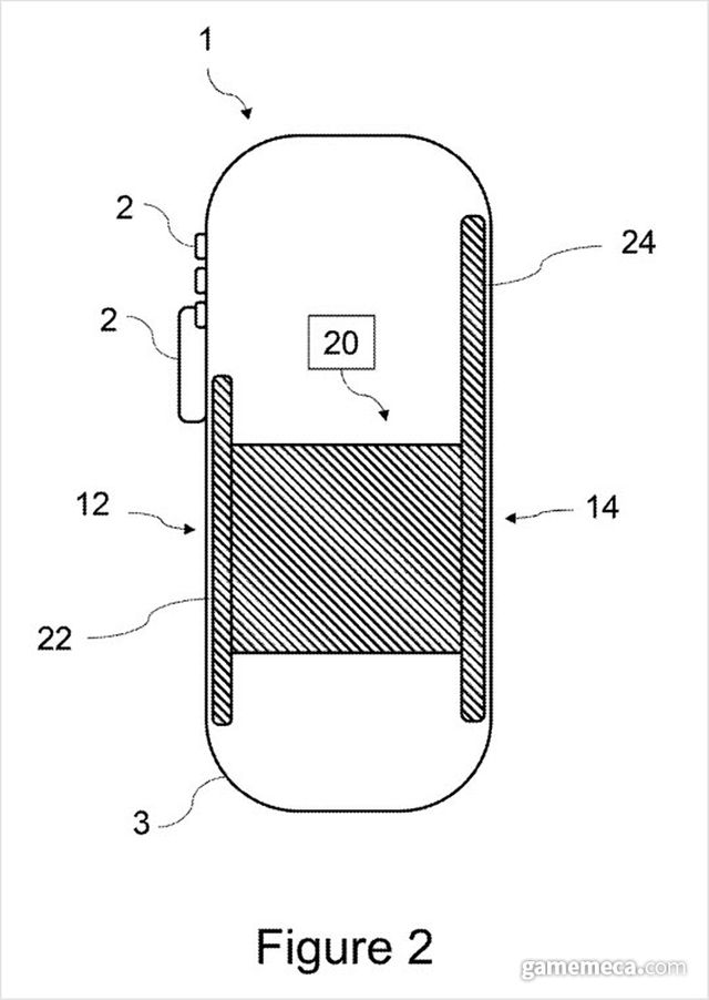
미국 특허청이 공개한 소니 컨트롤러 신규 특허 (사진출처: 미국 특허청)
▲ 미국 특허청이 공개한 소니 컨트롤러 신규 특허 (사진출처: 미국 특허청)

소니가 온냉 기능을 더한 또다른 컨트롤러 특허를 출원했다. 

미국 특허 상표청에 공개된 문서에 따르면, 소니가 2024년 8월 출원한 특허 기술이 지난 3월 6일 공개로 전환됐다. ‘열 전달 모듈을 지닌 컨트롤러’라는 부제로 게재된 해당 특허는 기술 개발 배경과 컨트롤러 온도 변화 기능에 대한 설명이 담겼다. 컨트롤러 내에 가열 및 냉각 모듈이 탑재된 이 기능은 플레이어의 손 위치와 온도를 파악하여, 실시간으로 컨트롤러 손잡이 부분의 온도를 조절한다. 

소니는 2023년 온도 조절 기능을 탑재한 컨트롤러 특허를 한 차례 출원한 바 있다. 당시 공개된 특허는 게임 내 상황에 따라 컨트롤러 온도가 바뀌며 몰입감을 높이는 데 목적을 뒀다. 반면 이번 기술은 손이 차거나 열이 많은 플레이어들이 쾌적한 환경에서 게임을 플레이할 수 있도록 하는데 초점이 맞춰져 있다.



소니 컨트롤러 신규 특허 상세 이미지 (사진출처: 미국 특허청)
▲ 소니 컨트롤러 신규 특허 상세 이미지 (사진출처: 미국 특허청)

소니는 이전부터 이색적인 컨트롤러 특허를 꾸준히 출원해왔다. 지난 2020년에는 컨트롤러를 쥐는 방식에 따라 이용자를 식별하는 기술을 공개했으며, 2023년에는 제한적인 공간에서 VR을 플레이할 수 있도록 발로 작동하는 컨트롤러 특허를 출원했다.

이번 특허 출원 소식을 접한 누리꾼들은 “실제로 나올 것 같지는 않지만, 그래도 참신하다”, “지금 배터리 용량으로는 감당 안되겠는데?” 등 다양한 반응을 보이고 있다. 

Copyright ⓒ 게임메카 무단 전재 및 재배포 금지

본 콘텐츠는 뉴스픽 파트너스에서 공유된 콘텐츠입니다.

다음 내용이 궁금하다면?
광고 보고 계속 읽기
원치 않을 경우 뒤로가기를 눌러주세요

실시간 키워드

  1. -
  2. -
  3. -
  4. -
  5. -
  6. -
  7. -
  8. -
  9. -
  10. -

0000.00.00 00:00 기준

이 시각 주요뉴스

알림 문구가 한줄로 들어가는 영역입니다

신고하기

작성 아이디가 들어갑니다

내용 내용이 최대 두 줄로 노출됩니다

신고 사유를 선택하세요

이 이야기를
공유하세요

이 콘텐츠를 공유하세요.

콘텐츠 공유하고 수익 받는 방법이 궁금하다면👋>
주소가 복사되었습니다.
유튜브로 이동하여 공유해 주세요.
유튜브 활용 방법 알아보기