2022.08.01 00:00 기준
정치9단 2024-11-18 14:40:41 신고
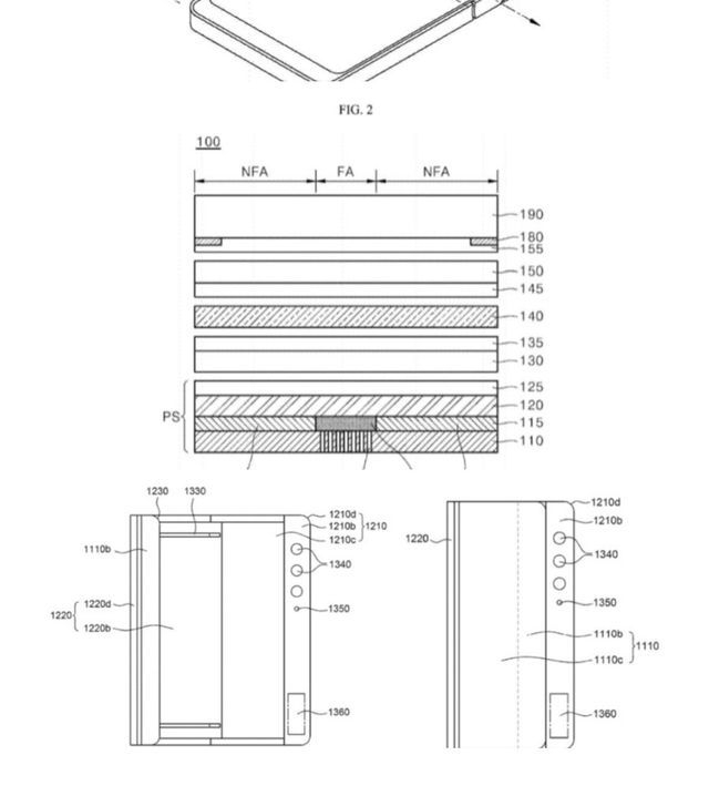
ㅊㅊ 란즈크 블로그
다들 애플 폴더블 폰 납품으로 예상중
Copyright ⓒ 정치9단 무단 전재 및 재배포 금지
본 콘텐츠는 뉴스픽 파트너스에서 공유된 콘텐츠입니다.
펜타곤 피자지수 앱에 대해 미국 국방장관도 안다.
엄마가 아내가 너무 연락 많이해서 차단했대
존나 얼척없는 페퍼로니 피자썰
헤어지고 본인이 사준 패딩 내놓으라는 남자친구
0000.00.00 00:00 기준
선착순 단가 더드림
진행
05.11 09:30 - 05.13 09:30
782,330 / 9,999,999
더드림 포인트 소진 수량은 안내 화면 노출 시점에 집계된 금액으로 이후 차이가 있을 수 있습니다.
프로모션 포인트 소진 수량은 안내 화면 노출 시점에 집계된 금액으로 이후 차이가 있을 수 있습니다.
작성 아이디가 들어갑니다
내용 내용이 최대 두 줄로 노출됩니다
http://m.newspic.kr/view.html?nid=2021080210354501704&pn=293&cp=h7asv27Y&utm_medium=affiliate&utm_campaign=2021080210354501704&utm_source=np210611h7asv27Y