“현대차는 이런 거 못 하나?"... 혼다의 새로운 특허, 기발하다 못해 엄청난 이유는?

실시간 키워드

2022.08.01 00:00 기준

“현대차는 이런 거 못 하나?"... 혼다의 새로운 특허, 기발하다 못해 엄청난 이유는?

오토트리뷴 2024-03-01 10:08:21 신고

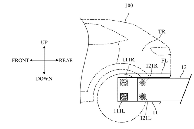
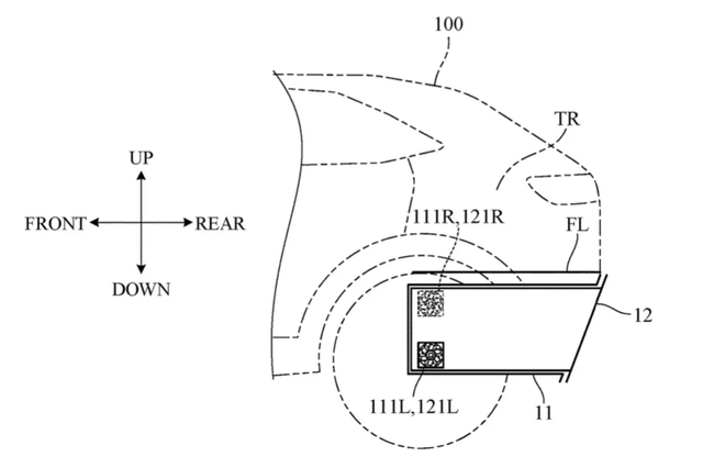
[오토트리뷴=김동민 기자] 혼다가 최근 ‘범퍼 트렁크’에 대한 특허를 인증받았다. 차 뒷면 하단에 위치한 범퍼에 슬라이딩이 가능한 서랍 칸을 만들어 물건을 실을 수 있는 구조다. 전기차에서 남는 공간을 활용하는 기술로 많은 관심을 끌고 있다.

▲혼다가 특허 받은 '범퍼 트렁크'(사진=혼다)
▲혼다가 특허 받은 '범퍼 트렁크'(사진=혼다)

해외 자동차 매체 모터어소리티는 최근 혼다가 발표한 특허 기술에 대해 보도했다. 혼다는 작년 7월 13일 미국 특허상표청(USPTO)에 특허 신청서를 제출했고, 지난 1일 절차를 완료해 그 신청서를 공개했다. 오토어소리티는 “혼다가 특허받은 기술은 자동차를 움직이는 우체통으로 만들어줄 것”이라고 농담조로 소개했다.

이 기술의 주요 골자는 전기차 기준으로 뒷바퀴 축부터 후면 범퍼까지 이어지는 서랍장 형식의 공간을 창출해 낸 것이다. 기존 내연 기관 차에는 연료통과 소음기 및 머플러 등으로 꽉 차 있었는데, 전기차에서는 이것들이 사라져 비게 됐다. 이를 활용해 또 다른 수납공간을 만들어낸 셈이다.

▲혼다가 특허 받은 '범퍼 트렁크'(사진=혼다)
▲혼다가 특허 받은 '범퍼 트렁크'(사진=혼다)
▲혼다가 특허 받은 '범퍼 트렁크'(사진=혼다)
▲혼다가 특허 받은 '범퍼 트렁크'(사진=혼다)

다만 특허에 등록된 이미지상으로 뒷바퀴까지 들어오는 크기 때문에 후륜을 굴리는 전기차에는 적용이 쉽지 않아 보인다. 차 앞쪽에만 모터가 들어가 전륜을 굴리는 파워트레인만 적용할 수 있을 전망이다.

전륜 구동 전기차는 내연 기관 차에서 엔진룸에 해당하는 앞쪽에 전장품이 자리를 채워 이른바 ‘프렁크’를 두기가 쉽지 않았다. 혼다가 특허를 낸 이 기술로 이런 문제점이 어느 정도 해결될 수 있을 전망이다.

▲혼다가 특허 받은 '범퍼 트렁크'(사진=혼다)
▲혼다가 특허 받은 '범퍼 트렁크'(사진=혼다)
▲혼다가 특허 받은 '범퍼 트렁크'(사진=혼다)
▲혼다가 특허 받은 '범퍼 트렁크'(사진=혼다)

보안 및 보관 능력도 잊지 않았다. 범퍼에 기존 트렁크와 별개로 잠금 또는 해제 가능한 장치를 마련했다. 또한 자체 에어컨까지 갖춰 공기 순환이 가능하도록 설계했다. 차 안에 두기에 더럽거나 냄새가 나는 물건들의 수납이 용이할 것으로 보인다. 그렇다고 이 안에 음식을 넣어둘 가능성은 없어 보이지만 말이다.

▲혼다 릿지라인 '인-베드 트렁크'(사진=혼다)
▲혼다 릿지라인 '인-베드 트렁크'(사진=혼다)

혼다가 수납공간에 보이는 열정은 이뿐만 아니다. 픽업트럭 릿지라인은 짐칸 아래에 드넓은 수납공간을 추가했다. 테슬라 사이버트럭 프렁크보다 넓어 보이는 이 공간은 성인도 충분히 들어갈 만한 크기를 갖춤은 물론 스페어타이어도 넣을 수 있도록 설계했다.

한편, 혼다는 이번 특허 기술과 더불어 전기차에 대한 비중을 넓혀나가고 있다. 지난 1월 새로운 전기차 라인업인 ‘0 시리즈’를 선보인 데 이어 최근에는 CR-V에 플러그인 수소 하이브리드 파워트레인을 얹은 차를 발표했다. 일본 주요 자동차 브랜드 중 전기차에 가장 보수적이었던 혼다였으나, 최근 행보로 전기차에 대한 접근법이 달라졌음을 엿볼 수 있다.

kdm@autotribune.co.kr

Copyright ⓒ 오토트리뷴 무단 전재 및 재배포 금지

본 콘텐츠는 뉴스픽 파트너스에서 공유된 콘텐츠입니다.

다음 내용이 궁금하다면?
광고 보고 계속 읽기
원치 않을 경우 뒤로가기를 눌러주세요

실시간 키워드

  1. -
  2. -
  3. -
  4. -
  5. -
  6. -
  7. -
  8. -
  9. -
  10. -

0000.00.00 00:00 기준

이 시각 주요뉴스

알림 문구가 한줄로 들어가는 영역입니다

신고하기

작성 아이디가 들어갑니다

내용 내용이 최대 두 줄로 노출됩니다

신고 사유를 선택하세요

이 이야기를
공유하세요

이 콘텐츠를 공유하세요.

콘텐츠 공유하고 수익 받는 방법이 궁금하다면👋>
주소가 복사되었습니다.
유튜브로 이동하여 공유해 주세요.
유튜브 활용 방법 알아보기