제네시스 풀사이즈 전기 플래그십 SUV GV90이 2026년 상반기 데뷔를 앞둔 가운데 차량 실내를 혁신할 핵심 기술이 연이어 드러나고 있다.
최근 공개된 현대차–LG전자 공동 특허와 유출된 관련 문건 분석에 따르면 GV90에는 세계 최초 양산 가능성이 제기되는 ‘롤러블 OLED 디스플레이’가 적용될 것으로 보인다.
# 특허가 공개한 롤러블 디스플레이 구조
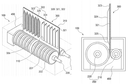
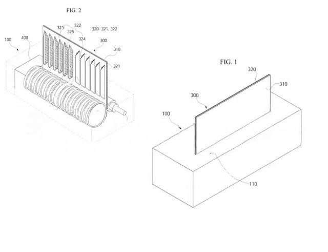
해당 특허는 유연한 OLED 패널을 롤러에 감아 하우징 속으로 완전히 수납할 수 있는 구조를 담고 있다.
특히 롤러 축 기반 감김·전개 메커니즘, 전개 시 화면 강성을 유지하기 위한 보강 지지대, 패널 뒤틀림·진동 방지 구조, 주행 상황에 따라 화면 크기를 자동 조절하는 UI 시스템 등의 핵심 기술을 자랑한다.
특허 문건에 따르면 이 시스템은 주행 중에는 화면을 절반만 노출해 시야 방해를 최소화하고, 정차·주차·충전 중에는 전체 화면을 확장해 시네마틱 와이드 스크린처럼 작동한다.
OTT 시청, 생산성 앱 사용, 전체 화면 탐색 등 ‘라운지형 EV 경험’을 구현하기 위한 기술이라는 점이 특징이다.
디스플레이 설치 깊이는 약 12cm 수준으로 설계돼, GV90 실내에 적용될 경우 기존 고정형 패널과 비교해 대시보드를 더욱 미니멀하고 고급스럽게 정리할 수 있는 점도 주목된다.
# GV90에 실제 적용될 가능성
업계는 GV90을 롤러블 스크린의 첫 양산차 후보로 지목하고 있다.
또한, 제네시스 최상위 EV 아키텍처, 네오룬 콘셉트 기반 미니멀 실내, 대형 와이드 슬롯 구조의 초기 프로토타입 등이 롤러블 적용을 염두에 둔 설계라는 분석도 나오고 있다.
업계에서는 “GV90이 세계 최초로 롤러블 OLED를 양산 적용한다면 프리미엄 전기 SUV 시장에 새로운 기준을 제시하게 될 것”이라는 평가가 나온다.
# 경쟁 기술 비교
현재 롤러블 디스플레이는 TV·모바일 분야에서만 시제품 형태로 등장했으며, 양산차에 적용된 사례는 세계적으로 없다.
LG디스플레이와 삼성디스플레이가 이 기술의 패널 공급 후보로 거론되며, 완성차 적용 시 미니멀 디자인·공간 확장성·온디맨드 디스플레이 경험이라는 강점을 통해 경쟁 모델 대비 차별화를 꾀할 수 있을 것으로 보인다.
# 남은 과제
그러나 GV90의 세계 최초 ‘롤러블 OLED 디스플레이’ 적용에는 아직 넘어야 할 과제가 남아있다. 특히 양산 안정성과 내구성, 진동·충격 대응, 고비용 문제 등을 우선 해결해야 한다.
그러나 특허 내용과 GV90 개발 흐름을 종합할 때, 제네시스가 GV90을 통해 단순한 전기 SUV를 넘어 새로운 ‘기술 플래그십’을 선보이려 한다는 점만큼은 확실해 보인다.
Copyright ⓒ 더드라이브 무단 전재 및 재배포 금지
본 콘텐츠는 뉴스픽 파트너스에서 공유된 콘텐츠입니다.




