백내장 수술은 혼탁한 수정체를 제거하고 인공수정체(IOL)를 삽입하는 표준 치료다. 기존 임상 연구 기반 평가는 환자 시력과 만족도 조사를 통해 이뤄지지만 시간·비용 부담과 주관성이 한계로 지적돼 왔다.
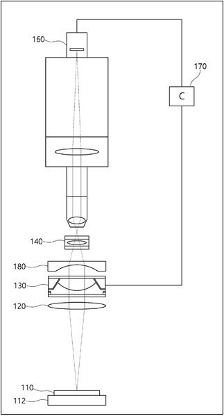
황 교수의 특허 기술은 옵티컬 벤치(optical bench, 광학 성능 평가 장치) 상의 수조에 인공수정체를 삽입한 뒤, 전기로 작동하는 액체렌즈로 다양한 거리를 시뮬레이션할 수 있도록 탈조점을 만든 후 시표를 촬영 및 분석한다. 시표 촬영부터 데이터 분석까지 전 과정을 자동화해 반복 가능성과 재현성을 높인 것이 핵심이다.
황 교수는 “이번 발명은 전기적으로 탈초점을 구현해 다초점 인공수정체의 성능을 빠르고 객관적으로 측정할 수 있도록 한 장치”라며 “평가 결과를 표준화된 데이터베이스로 구축해 안과의사와 백내장 수술 예정 환자들이 병원 홈페이지에서 손쉽게 열람할 수 있도록 하겠다”고 밝혔다.
여의도성모 안과병원은 해당 장비를 기반으로 국내외 다초점 인공수정체의 비교·검증을 진행하여 임상 현장에서의 다초점인공수정체 선택의 근거를 확보하여 환자 맞춤 치료에 기여할 계획이다.
|
Copyright ⓒ 이데일리 무단 전재 및 재배포 금지
본 콘텐츠는 뉴스픽 파트너스에서 공유된 콘텐츠입니다.
