딥마인드 ‘기능 보존형 신경망 확장’ 기술 특허

실시간 키워드

2022.08.01 00:00 기준

딥마인드 ‘기능 보존형 신경망 확장’ 기술 특허

시보드 2025-05-01 13:14:01 신고

내용:

17460727744137.jpg

17460727755545.jpg

17460727774702.png

17460727798925.png

17460727821446.png

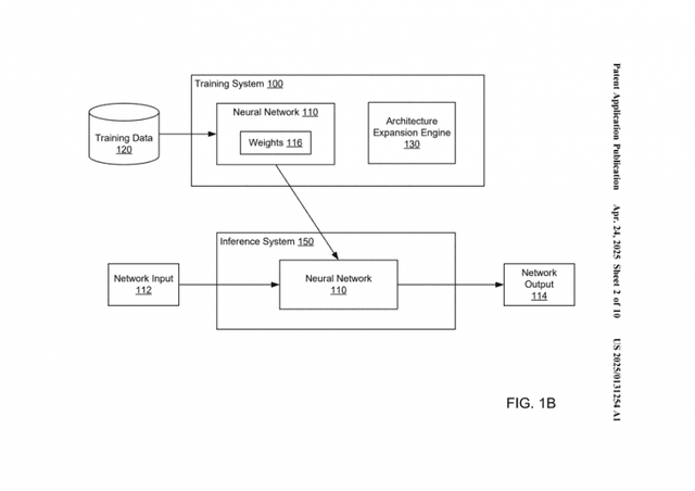
24일 낸 따끈따근한 특허임 얘들 진짜 뭔가를 숨기고 있는듯 ㄷ ㄷ


Copyright ⓒ 시보드 무단 전재 및 재배포 금지

본 콘텐츠는 뉴스픽 파트너스에서 공유된 콘텐츠입니다.

다음 내용이 궁금하다면?
광고 보고 계속 읽기
원치 않을 경우 뒤로가기를 눌러주세요

실시간 키워드

  1. -
  2. -
  3. -
  4. -
  5. -
  6. -
  7. -
  8. -
  9. -
  10. -

0000.00.00 00:00 기준

이 시각 주요뉴스

알림 문구가 한줄로 들어가는 영역입니다

신고하기

작성 아이디가 들어갑니다

내용 내용이 최대 두 줄로 노출됩니다

신고 사유를 선택하세요

이 이야기를
공유하세요

이 콘텐츠를 공유하세요.

콘텐츠 공유하고 수익 받는 방법이 궁금하다면👋>
주소가 복사되었습니다.
유튜브로 이동하여 공유해 주세요.
유튜브 활용 방법 알아보기