"운전 손맛 살린다!" 포드, EV용 '가짜 수동 변속기' 개발 중... 도입은 언제?

실시간 키워드

2022.08.01 00:00 기준

"운전 손맛 살린다!" 포드, EV용 '가짜 수동 변속기' 개발 중... 도입은 언제?

M투데이 2025-04-02 07:29:28 신고

사진 : 포드 머스탱 마하-E
사진 : 포드 머스탱 마하-E

[엠투데이 임헌섭 기자] 전기차가 일상 운전의 표준으로 자리 잡은 가운데, 운전의 재미를 중시하는 자동차 마니아들을 위한 기술 개발이 활발히 이뤄지고 있다.

최근 공개된 포드의 특허는 전기차에 H패턴 수동 변속기를 모사한 가짜 변속기를 탑재해, 내연기관 차량 특유의 운전 감각을 되살리는 데 초점을 맞췄다.

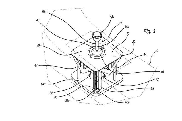
해외 자동차 전문매체 잘롭닉(Jalopnik)에 따르면, 해당 특허는 여러 개의 액추에이터와 모터, 수직 드라이브 포스트 등을 활용해 다양한 형태의 변속 패턴을 시뮬레이션할 수 있는 구조가 포함돼 있다. 이론상으로는 H패턴뿐 아니라 순차식 변속도 구현 가능하다.

사진 : 포드가 출원한 가짜 수동 변속기 특허 (출처=Jalopnik)
사진 : 포드가 출원한 가짜 수동 변속기 특허 (출처=Jalopnik)

특히 포드는 단순한 외형적 모사가 아닌 ‘촉각 피드백(haptic feedback)’ 기술을 활용해 운전자가 실제 기어를 조작하는 듯한 물리적 반응을 체감할 수 있도록 설계하고 있다.

포드는 특허문에서 “전기차는 기존 내연기관 차량과 달리 운전자와 차량 간의 물리적 피드백이 부족하다”며, "이러한 기술이 새로운 운전 경험을 제공할 수 있다"고 강조했다.

토요타자동차가 지난 2022년부터 유사한 수동 변속 기술을 개발하고 있고, 현대자동차도 아이오닉 5 N에 듀얼클러치 감각을 재현한 시스템을 적용한 바 있어, 이번 포드의 특허는 이러한 흐름 속에서 또 하나의 주목할 만한 행보로 평가된다.

다만, 포드가 구체적인 출시 계획을 밝히지 않은 만큼 이 기술이 실제 양산차에 적용될지는 미지수다.

Copyright ⓒ M투데이 무단 전재 및 재배포 금지

본 콘텐츠는 뉴스픽 파트너스에서 공유된 콘텐츠입니다.

다음 내용이 궁금하다면?
광고 보고 계속 읽기
원치 않을 경우 뒤로가기를 눌러주세요

실시간 키워드

  1. -
  2. -
  3. -
  4. -
  5. -
  6. -
  7. -
  8. -
  9. -
  10. -

0000.00.00 00:00 기준

이 시각 주요뉴스

알림 문구가 한줄로 들어가는 영역입니다

신고하기

작성 아이디가 들어갑니다

내용 내용이 최대 두 줄로 노출됩니다

신고 사유를 선택하세요

이 이야기를
공유하세요

이 콘텐츠를 공유하세요.

콘텐츠 공유하고 수익 받는 방법이 궁금하다면👋>
주소가 복사되었습니다.
유튜브로 이동하여 공유해 주세요.
유튜브 활용 방법 알아보기